CYZ-A防爆自吸銅葉輪汽油泵,不銹鋼自吸煤油泵,耐腐蝕自吸柴油泵結構圖及安裝尺寸
時間:2015/12/28 來源:浙江揚子江泵業有限公司
CYZ-A防爆自吸銅葉輪汽油泵,不銹鋼自吸煤油泵,耐腐蝕自吸柴油泵是根據國內外有關技術資料經消化、吸收、改進后研制而成的新泵類產品,該自吸泵適用于石油行業、陸地油庫、油罐車的理想產品,并適合于作船用貨油泵、艙底泵、消防泵和壓載泵及機器冷卻水循環等,分別輸送汽油、煤油、柴油、航煤等石油產品和海水、清水,介質溫度-20℃-80℃,如輸送化工液體可改用耐腐蝕機械密封。

CYZ-A防爆自吸銅葉輪汽油泵,不銹鋼自吸煤油泵,耐腐蝕自吸柴油泵型號意義:

CYZ-A防爆自吸銅葉輪汽油泵,不銹鋼自吸煤油泵,耐腐蝕自吸柴油泵產品特點:
1.該泵屬自吸式油泵,它具有結構簡單、操作方便、運行平穩、維護容易、效率高、壽命長具有較強的自吸能力等優點。管路中不需底閥,工作前只需保證泵體內儲有定量引油即可。用于油輪或輸水船舶上時,可兼作掃艙泵,掃艙效果良好。
2.CYZ-A型自吸式油泵是選用優質材料精作而成,密封采用硬質合金機械密封,經久耐用,吐出管路不需要安裝安全閥,吸入管路不需要安裝底閥因此簡化了管路系統,又改善了勞動條件。
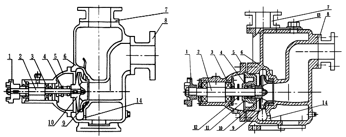
CYZ-A防爆自吸銅葉輪汽油泵,不銹鋼自吸煤油泵,耐腐蝕自吸柴油泵結構圖:
|
1 |
聯軸器 |
2 |
泵軸 |
3 |
軸承 |
4 |
機械密封 |
5 |
軸承體 |
6 |
泵殼 |
7 |
出口座 |
|
8 |
進口座 |
9 |
前密封環 |
10 |
葉輪 |
11 |
后蓋 |
12 |
檔水圈 |
13 |
加液孔 |
14 |
回液孔 |
CYZ-A防爆自吸銅葉輪汽油泵,不銹鋼自吸煤油泵,耐腐蝕自吸柴油泵工作原理:
自吸油泵均采用軸向回液的泵體結構。泵體由吸人室、儲液室、渦卷室、回液孔、氣液分離室等組成,泵正常起動后,葉輪將吸人室所存的液體及吸人管路中的空氣一起吸人,并在葉輪內得以完全混合,在離心力的作用下,液體夾帶著氣體向渦卷室外緣流動,在葉輪的外緣上形成有一定厚度的白色泡沫帶及高速旋轉液環。氣液混合體通過擴散管進人氣液分離室。此時,由于流速突然降低,較輕的氣體從混合氣液中被分離出來,氣體通過泵體吐出口繼續上升排出。脫氣后的液體回到儲液室,并由回流孔再次進入葉輪,與葉輪內部從吸入管路中吸人的氣體再次混合,在高速旋轉的葉輪作用下,又流向葉輪外緣……。隨著這個過程周而復始地進行下去,吸人管路中的空氣不斷減少,直到吸盡氣體,完成自吸過程,泵便投人正常作業。因為該自吸泵具有這種獨特的排氣能力,所以此泵能輸送含有氣體的液體,無需安裝底閥,使用在油輪上時具有良好的掃艙功能。
在一些泵的軸承體底部還設有冷卻室。當軸承發熱引起軸承體溫升超過70℃,可在冷卻室處通過任意一只冷卻液管接頭,注人冷卻液循環冷卻。泵內部防止液體由高壓區向低壓區泄漏的密封機構是前后密封環,前密封環裝在泵體上,后密封環裝在軸承體上,當泵經長期運轉密封環磨損到一定程度,并影響到泵的效率和自吸性能時,應給予更換。
CYZ-A防爆自吸銅葉輪汽油泵,不銹鋼自吸煤油泵,耐腐蝕自吸柴油泵性能參數:
|
型號 |
流量 |
揚程(m) |
吸程(m) |
轉速(r/min) |
自吸性能(min/5m) |
功率(KW) |
泵口徑(mm) |
機組重量(kg) |
|||
|
(m3/h) |
(L/S) |
軸功率 |
電機功率 |
吸人 |
排出 |
||||||
|
25CYZ-A-20 |
3.2 |
0.9 |
20 |
6.5 |
2900 |
1.9 |
0.46 |
0.75 |
25 |
25 |
72 |
|
25CYZ-A-32 |
3.2 |
0.9 |
32 |
6.5 |
2900 |
1.8 |
0.8 |
1.1 |
25 |
25 |
80 |
|
40CYZ-A-20 |
6.3 |
1.8 |
20 |
6.5 |
2900 |
1.9 |
0.87 |
1.1 |
40 |
32 |
85 |
|
40CYZ-A-40 |
10 |
2.8 |
40 |
6.5 |
2900 |
1.5 |
2.7 |
4 |
40 |
40 |
138 |
|
50CYZ-A-12 |
15 |
4.2 |
12 |
6.5 |
2900 |
2.4 |
1.1 |
1.5 |
50 |
50 |
90 |
|
50CYZ-A-20 |
18 |
5 |
20 |
6.5 |
2900 |
1.9 |
1.8 |
2.2 |
50 |
50 |
98 |
|
50CYZ-A-30 |
20 |
5.6 |
30 |
6.5 |
2900 |
1.5 |
2.6 |
4 |
50 |
50 |
140 |
|
50CYZ-A-35 |
14 |
3.9 |
35 |
6.5 |
2900 |
1.5 |
2.7 |
4 |
50 |
50 |
145 |
|
50CYZ-A-40 |
10 |
2.8 |
40 |
6.5 |
2900 |
1.5 |
2.7 |
4 |
50 |
50 |
145 |
|
50CYZ-A-50 |
12.5 |
3.5 |
50 |
6.5 |
2900 |
1.4 |
4.3 |
5.5 |
50 |
50 |
160 |
|
50CYZ-A-60 |
15 |
4.2 |
60 |
6.5 |
2900 |
1.3 |
6.2 |
7.5 |
50 |
50 |
190 |
|
50CYZ-A-75 |
20 |
5.6 |
75 |
6.5 |
2900 |
1.3 |
9.8 |
11 |
50 |
50 |
240 |
|
65CYZ-A-15 |
30 |
8.3 |
15 |
6.5 |
2900 |
2 |
1.9 |
3 |
65 |
65 |
100 |
|
65CYZ-A-32 |
25 |
6.9 |
32 |
6 |
2900 |
1.5 |
4.4 |
5.5 |
65 |
65 |
165 |
|
80CYZ-A-13 |
35 |
9.7 |
13 |
6 |
2900 |
3.4 |
1.9 |
3 |
80 |
80 |
107 |
|
80CYZ-A-17 |
43 |
12 |
17 |
6 |
2900 |
1.8 |
3.1 |
4 |
80 |
80 |
156 |
|
80CYZ-A-22 |
40 |
11.1 |
22 |
6 |
2900 |
1.9 |
4.4 |
5.5 |
80 |
80 |
169 |
|
80CYZ-A-25 |
50 |
13.9 |
25 |
6 |
2900 |
1.5 |
5.2 |
7.5 |
80 |
80 |
177 |
|
80CYZ-A-32 |
50 |
13.9 |
32 |
6 |
2900 |
1.5 |
6.8 |
7.5 |
80 |
80 |
180 |
|
80CYZ-A-55 |
60 |
16.7 |
55 |
6 |
2900 |
1.5 |
15 |
18.5 |
80 |
80 |
310 |
|
80CYZ-A-70 |
60 |
16.7 |
70 |
6 |
2900 |
1.2 |
20.1 |
22 |
80 |
80 |
333 |
|
100CYZ-A-20 |
100 |
27.8 |
20 |
6 |
2900 |
1.8 |
7.8 |
11 |
100 |
100 |
258 |
|
100CYZ-A-40 |
100 |
27.8 |
40 |
6 |
2900 |
1.8 |
16.3 |
99 |
100 |
100 |
455 |
|
100CYZ-A-40A |
100 |
27.8 |
40 |
6 |
1450 |
1.8 |
18.5 |
22 |
100 |
100 |
520 |
|
100CYZ-A-65 |
100 |
27.8 |
65 |
6 |
2900 |
1.8 |
27.7 |
30 |
100 |
100 |
620 |
|
100CYZ-A-75 |
70 |
19.4 |
75 |
6 |
2900 |
1.8 |
24.2 |
30 |
100 |
100 |
639 |
|
150CYZ-A-55 |
170 |
47.2 |
55 |
5 |
2900 |
1.8 |
39.2 |
45 |
150 |
150 |
830 |
|
150CYZ-A-65 |
170 |
47.2 |
65 |
5 |
2900 |
1.3 |
46.3 |
55 |
150 |
150 |
957 |
|
150CYZ-A-65A |
170 |
47.2 |
65 |
5 |
1450 |
1.2 |
49.8 |
55 |
150 |
150 |
1138 |
|
150CYZ-A-80 |
160 |
44.4 |
80 |
5 |
2900 |
1.2 |
53.6 |
55 |
150 |
150 |
986 |
|
200CYZ-A-32 |
400 |
111.1 |
32 |
5 |
1450 |
2 |
52.1 |
55 |
200 |
200 |
1205 |
|
200CYZ-A-63 |
280 |
77.8 |
63 |
5 |
1450 |
1.5 |
73.9 |
90 |
200 |
200 |
1338 |
|
200CYZ-A-65 |
350 |
97.2 |
65 |
5 |
1450 |
1.5 |
97.2 |
110 |
200 |
200 |
1553 |
|
250CYZ-A-32 |
550 |
152.8 |
32 |
5 |
1450 |
2 |
72.3 |
75 |
250 |
250 |
1307 |
|
250CYZ-A-50 |
400 |
111.1 |
50 |
5 |
1450 |
2 |
80 |
90 |
250 |
250 |
1486 |
|
250CYZ-A-55 |
450 |
125 |
55 |
5 |
1450 |
2 |
102.1 |
110 |
250 |
250 |
1681 |
|
250CYZ-A-75 |
400 |
111.1 |
75 |
5 |
1450 |
1.5 |
125.6 |
132 |
250 |
250 |
1829 |
|
300CYZ-A-32 |
600 |
166.7 |
32 |
5 |
1450 |
2 |
79.2 |
90 |
300 |
300 |
1608 |
|
300CYZ-A-50 |
500 |
138.9 |
50 |
5 |
1450 |
2 |
104.6 |
110 |
300 |
300 |
1728 |
|
300CYZ-A-55 |
550 |
152.8 |
55 |
5 |
1450 |
2 |
117.6 |
132 |
300 |
300 |
1995 |
CYZ-A型自吸式油泵使用:

(一)、起動前的準備及檢查工作:
1、本系列油泵,根據泵的工作運轉狀況,分別采用優質鈣基黃油10號機油進行潤滑,如果采用黃油潤滑的泵應定期向軸承箱內加注黃油,采用機油潤滑的泵,如果油位不足,則加足之。
2檢查泵殼內的儲液是否高于葉輪的上邊緣,如若不足,可以從泵殼上的加液口處直接向泵體內注人儲液,不應在儲液不足的情況下啟動運轉,否則泵不能正常工作,且易損壞機械密封。
3、檢查泵的轉動部件是否有卡住磕碰現象。
4、檢查泵體底腳及各聯結處螺母有無松動現象。
5、檢查泵軸與電動機主軸的同軸度或平行度。
6、檢查遄口管路是否漏氣,如有漏氣,必須設法排除。
7、打開吸人管路的閥門,稍開.(不要全開)出口控制閥。
(二)、起動及操作:
1、起動油泵,注意泵軸的轉向是否正確。
2、注意轉動時有無不正常的聲響和振動。
3、注意壓力表及真空表讀數,起動后當壓力表及真空表的讀數經過一段時間的波動而指示穩定后,說明泵內已經上液,油泵進人正常輸油作業。
4、在泵進人正常輸油作業前即自吸(或掃艙)過程中,應特別注意泵內油溫升高惰況,如果這個過程過長,泵內油溫過高,則停泵檢查其原因。
5、如果泵內液體溫度過高而引起自吸困難,那么可以暫時停機,利用吐出管路中的液體倒流回泵內或向泵體上的加儲液口處直接向泵內補充液體,使泵內液體降溫,然后起動即可。
6、調節出口控制閥,使壓力表讀數指到規定區域,避免油泵在規定區域的下限范圍內工作,以防因軸功率過大而引起電動機過載,或因流量過大而使泵產生汽蝕,影響泵的正常運轉,使泵強烈振動,發出噪聲。輸送各種油料時的壓力的使用范圍可參閱下表。
|
型號 |
水 |
汽油 |
煤油 |
柴油 |
|
25CYZ-A-20 |
0.13-0.23 |
0.09-0.15 |
0.10-0.18 |
0.10-0.19 |
|
25CYZ-A-32 |
0.28-0.38 |
0.20-0.27 |
0.21-0.29 |
0.23-0.32 |
|
40CYZ-A-20 |
0.15-0.25 |
0.11-0.18 |
0.I2-0.20 |
0.12-0.21 |
|
40CYZ-A-40 |
0.33-0.41 |
0.24-0.30 |
0.26-0.33 |
0.28-0.35 |
|
50CYZ-A-12 |
0.10-0.15 |
0.07-0.11 |
0.08-0.12 |
0.08-0.13 |
|
50CYZ-A-20 |
0.15-0.25 |
0.11-0.18 |
0.12-0.20 |
0.12-0.21 |
|
50CYZ-A-30 |
0.29-0.39 |
0.21-0.28 |
0.22-0.30 |
0.24-0.33 |
|
50CYZ-A-35 |
0.30-0.40 |
0.22-0.29 |
0.23-0.31 |
0.25-0.33 |
|
50CYZ-A-40 |
0.33-0.41 |
0.24-0.30 |
0.26-0.33 |
0.28-0.35 |
|
50CYZ-A-50 |
0.45-0.64 |
0.33-0.47 |
0.36-0.46 |
0.38-0.49 |
|
50CYZ-A-60 |
0.55-0.65 |
0.40-0.47 |
0.48-0.60 |
0.47-0.55 |
|
50CYZ-A-75 |
0.72-0.78 |
0.53-0.57 |
0.58-0.62 |
0.61-0.66 |
|
65CYZ-A-15 |
0.12-0.20 |
0.09-0.13 |
0.09-0.14 |
0.10-0.15 |
|
65CYZ-A-32 |
0.29-0.39 |
0.21-0.28 |
0.22-0.30 |
0.24-0.33 |
|
80CYZ-A-13 |
0.10-0.15 |
0.07-0.11 |
0.08-0.12 |
0.08-0.13 |
|
80CYZ-A-17 |
0.13-0.21 |
0.09-0.15 |
0.10-0.17 |
0.11-0.18 |
|
80CYZ-A-22 |
0.19-0.26 |
0.13-0.20 |
0.14-0.21 |
0.14-0.22 |
|
80CYZ-A-25 |
0.21-0.28 |
0.15-0.20 |
0.17-0.22 |
0.18-0.24 |
|
80CYZ-A-32 |
0.28-0.36 |
0.20-0.26 |
0.22-0.29 |
0.24-0.31 |
|
80CYZ-A-55 |
0.54-0.62 |
0.39-0.45 |
0.43-0.50 |
0.46-0.53 |
|
80CYZ-A-70 |
0.66-0.76 |
0.48-0.55 |
0.53-0.61 |
0.56-0.65 |
|
100CYZ-A-20 |
0.18-0.28 |
0.14-0.22 |
0.15-0.23 |
0.15-0.24 |
|
100CYZ-A-40 |
0.37-0.49 |
0.27-0.36 |
0.30-0.39 |
0.31-0.39 |
|
100CYZ-A-40A |
0.35-0.46 |
0.26-0.34 |
0.28-0.37 |
0.30-0.39 |
|
100CYZ-A-65 |
0.60-0.68 |
0.44-0.50 |
0.48-0.54 |
0.51-0.58 |
|
100CYZ-A-75 |
0.72-0.78 |
0.53-0.57 |
0.58-0.63 |
0.61-0.66 |
|
150CYZ-A-55 |
0.52-0.58 |
0.38-0.42 |
0.42-0.46 |
0.44-0.49 |
|
150CYZ-A-65 |
0.60-0.66 |
0.44-0.48 |
0.48-0.53 |
0.51-0.56 |
|
150CYZ-A-80 |
0.72-0.77 |
0.53-0.56 |
0.56-0.62 |
0.61-0.65 |
|
200CYZ-A-63 |
0.63-0.69 |
0.45-0.51 |
0.51-0.53 |
0.53-0.58 |
|
250CYZ-A-50 |
0.45-0.60 |
0.33-0.44 |
0.36-0.46 |
0.38-0.49 |
7.泵在工作過程中如發生強烈振動和噪聲,有可能是泵發生汽蝕所致,汽蝕產生的原因有兩種:一是進口管流速過大,二是吸程過高。流速過大時可調節出口控制閥,升高壓力表讀數,在進口管路
有堵塞時則應及時排除;吸程太高時可適當降低泵的安裝高度。
8.泵在工作過程中因故停泵,需再起動時,出口控制閥應稍開(不要全閉),這樣既有利于自吸過程中氣體從吐出口排除,又能保證泵在較輕的負荷下啟動。
9.注意檢查管路系統有無滲漏現象。
(三)、停泵:
1.首先必須關閉吐出管路上的閘閥。
2.使泵停止轉動。
3.在寒冷季節,應將泵體內的儲液和軸承體冷卻室內的水放空,以防凍裂機件。
該泵的特點是結構簡單可靠,經久耐用。在泵正常情況下,一般不需要經常拆開保養。當發現故障后隨時給予排除即可。
■ CYZ-A型自吸式油泵維護與拆裝:
1.維護該自吸泵時應注意幾個主要部位。
A滾動軸承:當油泵長期運行后,軸承磨損到一定程度時,須進行更換。
B前密封環、后密封環:當密封環磨損到一定程度時,須進行更換。
C機械密封:機械密封在不漏油的情況下,一般不應拆開檢查。若軸承體下端泄漏口處產生嚴重泄漏時,則應對機械密封進行拆檢。裝拆機械密封時,必須輕取輕放,注意配合面的清潔,保護好靜環和動環的鏡面,嚴禁敲擊碰撞。因機械密封而產生泄漏的原因主要是摩擦付鏡面拉毛所至。其修復辦法,可對磨擦付端面進行研磨使恢復鏡面。機械密封產生泄漏的另一原因是“O”形橡膠密封圈(或緩沖墊)安裝不當、或者變形老化所至。此時則需調整或更換“O”形密封圈進行重新裝配。
2.油泵拆裝順序:
A 拆下電動機或脫出聯軸器。
B 拆出軸承體總成,檢查葉輪和前口環的徑向間隙,檢查葉輪螺母有無松動。
C 拆下葉輪螺母,拉出葉輪,檢查葉輪和后密封環的徑向間隙。
D 松出機械密封的緊定螺釘,拉出機械密封的動環部分,檢查動、靜環端面的貼合情況,檢查“O”形密封圈(或緩沖墊)的密封情況。
E旋出聯軸器的緊定螺母,拉出聯軸器。
F拆下軸承端蓋,拆出泵軸和軸承。
G安裝時以相反順序進行裝配即可。
安裝尺寸圖:

|
泵 型 號 |
電動機 |
L |
L1 |
L2 |
L3 |
L4 |
L5 |
L6 |
L7 |
L8 |
δ |
H |
H1 |
H2 |
H3 |
B |
B1 |
B2 |
B3 |
φ |
φ1 |
φ2 |
φ3 |
φ4 |
φ5 |
n1-d1 |
n2-d2 |
n3-d3 |
|
|
型 號 |
功率 |
||||||||||||||||||||||||||||
|
25CYZ-A-20 |
YB801-2 |
0.75 |
320 |
615 |
791 |
75 |
155 |
450 |
339 |
38 |
155 |
2 |
195 |
300 |
436 |
20 |
280 |
320 |
225 |
4 |
25 |
75 |
100 |
25 |
75 |
100 |
4-12 |
4-12 |
4-14 |
|
25CYZ-A-32 |
YB802-2 |
1.1 |
350 |
580 |
732 |
45 |
125 |
391 |
339 |
重合 |
115 |
2 |
200 |
320 |
450 |
15 |
300 |
330 |
225 |
重合 |
25 |
75 |
100 |
25 |
75 |
100 |
4-12 |
4-12 |
4-12 |
|
40CYZ-A-20 |
YB802-2 |
1.1 |
320 |
615 |
791 |
75 |
155 |
450 |
339 |
38 |
150 |
2 |
195 |
300 |
436 |
20 |
280 |
320 |
225 |
重合 |
40 |
100 |
130 |
32 |
100 |
120 |
4-14 |
4-14 |
4-14 |
|
40CYZ-A-40 |
YB112M-2 |
4 |
500 |
795 |
990 |
33 |
173 |
515 |
470 |
重合 |
145 |
3 |
220 |
380 |
530 |
30 |
370 |
410 |
225 |
重合 |
40 |
100 |
130 |
40 |
100 |
130 |
4-14 |
4-14 |
4-14 |
|
40CYZ-A-50 |
YB100L-2 |
3 |
440 |
680 |
880 |
50 |
148 |
438 |
440 |
重合 |
120 |
2 |
223 |
433 |
593 |
25 |
320 |
360 |
225 |
4 |
40 |
100 |
130 |
40 |
100 |
130 |
4-14 |
4-14 |
4-14 |
|
50CYZ-A-12 |
YN90S-2 |
1.5 |
320 |
615 |
777 |
80 |
131 |
406 |
369 |
重合 |
150 |
2 |
185 |
305 |
436 |
20 |
280 |
320 |
225 |
4.5 |
50 |
110 |
140 |
50 |
110 |
140 |
4-14 |
4-14 |
4-14 |
|
50CYZ-A-20 |
YB90L-2 |
2.2 |
440 |
680 |
833 |
25 |
152 |
436 |
394 |
重合 |
120 |
3 |
193 |
323 |
475 |
25 |
320 |
360 |
225 |
7 |
50 |
110 |
140 |
50 |
110 |
140 |
4-14 |
4-14 |
4-14 |
|
50CYZ-A-30 |
YB112M-2 |
4 |
500 |
795 |
990 |
33 |
173 |
515 |
470 |
重合 |
145 |
3 |
220 |
380 |
530 |
30 |
370 |
410 |
225 |
重合 |
50 |
110 |
140 |
50 |
110 |
140 |
4-14 |
4-14 |
4-14 |
|
50CYZ-A-35 |
YB112M-2 |
4 |
500 |
795 |
990 |
33 |
173 |
515 |
470 |
重合 |
145 |
3 |
220 |
380 |
530 |
30 |
370 |
410 |
225 |
重合 |
50 |
110 |
140 |
50 |
110 |
140 |
4-14 |
4-14 |
4-14 |
|
50CYZ-A-40 |
YB112M-2 |
4 |
500 |
795 |
990 |
33 |
173 |
515 |
470 |
重合 |
145 |
3 |
220 |
380 |
530 |
30 |
370 |
410 |
225 |
重合 |
50 |
110 |
140 |
50 |
110 |
140 |
4-14 |
4-14 |
4-14 |
|
50CYZ-A-50 |
YB132S1-2 |
5.5 |
480 |
870 |
977 |
74 |
142 |
454 |
520 |
重合 |
195 |
3 |
220 |
380 |
540 |
30 |
360 |
404 |
240 |
5 |
50 |
110 |
140 |
50 |
110 |
140 |
4-14 |
4-14 |
4-18 |
|
50CYZ-A-60 |
YB132S2-2 |
7.5 |
510 |
870 |
1064 |
60.5 |
230 |
541 |
520 |
重合 |
180 |
3 |
270 |
440 |
600 |
25 |
380 |
410 |
240 |
8 |
50 |
125 |
160 |
50 |
125 |
160 |
4-18 |
4-18 |
4-18 |
|
50CYZ-A-75 |
YB160M1-2 |
11 |
600 |
1000 |
1212 |
87.5 |
230 |
541 |
668 |
重合 |
200 |
3 |
280 |
450 |
630 |
25 |
415 |
445 |
240 |
8 |
50 |
125 |
160 |
50 |
125 |
160 |
4-18 |
4-18 |
4-18 |
|
65CYZ-A-15 |
YB100L-2 |
3 |
440 |
680 |
864 |
36 |
135 |
421 |
440 |
重合 |
120 |
3 |
203 |
333 |
473 |
25 |
320 |
360 |
225 |
8 |
65 |
130 |
160 |
65 |
130 |
140 |
4-18 |
4-18 |
4-14 |
|
65CYZ-A-32 |
YB132S1-2 |
5.5 |
480 |
870 |
989 |
63 |
148 |
466 |
520 |
重合 |
195 |
3 |
220 |
370 |
530 |
30 |
360 |
404 |
240 |
8 |
65 |
130 |
160 |
65 |
130 |
140 |
4-18 |
4-18 |
4-18 |
|
80CYZ-A-13 |
YB100L-2 |
3 |
440 |
680 |
884 |
42 |
145 |
441 |
440 |
重合 |
120 |
3 |
203 |
343 |
493 |
25 |
320 |
360 |
225 |
9 |
80 |
150 |
185 |
80 |
150 |
160 |
4-18 |
4-18 |
4-14 |
|
80CYZ-A-17 |
YB112M-2 |
4 |
500 |
795 |
949 |
25 |
152 |
476 |
470 |
重合 |
145 |
3 |
220 |
370 |
530 |
30 |
370 |
410 |
225 |
12 |
80 |
150 |
185 |
80 |
150 |
160 |
4-18 |
4-18 |
4-14 |
|
80CYZ-A-22 |
YB132S1-2 |
5.5 |
480 |
870 |
999 |
61 |
152 |
476 |
520 |
重合 |
195 |
3 |
220 |
370 |
530 |
30 |
360 |
404 |
240 |
12 |
80 |
150 |
185 |
80 |
150 |
160 |
4-18 |
4-18 |
4-14 |
|
80CYZ-A-25 |
YB132S2-2 |
7.5 |
480 |
870 |
1080 |
70.5 |
270 |
557 |
520 |
70 |
195 |
3 |
225 |
406 |
595 |
30 |
360 |
404 |
240 |
重合 |
80 |
160 |
195 |
80 |
160 |
195 |
4-18 |
4-18 |
4-18 |
|
80CYZ-A-32 |
YB132S2-2 |
7.5 |
480 |
870 |
1080 |
70.5 |
270 |
557 |
520 |
70 |
195 |
3 |
225 |
406 |
595 |
30 |
360 |
404 |
240 |
重合 |
80 |
160 |
195 |
80 |
160 |
195 |
4-18 |
4-18 |
4-18 |
|
80CYZ-A-55 |
YB160L-2 |
18.5 |
600 |
1025 |
1269 |
95 |
200 |
558 |
708 |
重合 |
200 |
3 |
280 |
450 |
655 |
25 |
415 |
445 |
240 |
10 |
80 |
160 |
195 |
80 |
160 |
195 |
4-18 |
4-18 |
4-18 |
|
80CYZ-A-70 |
YB180M-2 |
22 |
730 |
1170 |
1404 |
38 |
211 |
656 |
745 |
重合 |
195 |
3 |
300 |
490 |
705 |
30 |
460 |
510 |
240 |
10 |
80 |
160 |
195 |
80 |
160 |
195 |
4-18 |
4-18 |
4-18 |
|
100CYZ-A-20 |
YB160M1-2 |
11 |
600 |
1000 |
1246 |
87.5 |
202 |
575 |
668 |
重合 |
200 |
3 |
260 |
420 |
590 |
30 |
415 |
445 |
240 |
重合 |
100 |
170 |
210 |
100 |
170 |
210 |
4-18 |
4-18 |
4-18 |
|
100CYZ-A-40 |
YB180M-2 |
22 |
730 |
1170 |
1537 |
64 |
355 |
789 |
745 |
55 |
195 |
3 |
300 |
510 |
940 |
30 |
460 |
510 |
240 |
102 |
100 |
170 |
210 |
100 |
170 |
210 |
4-18 |
4-18 |
4-18 |
|
100CYZ-A-40A |
YB180L-4 |
22 |
780 |
1220 |
1469 |
84 |
213 |
701 |
765 |
重合 |
220 |
3 |
360 |
610 |
835 |
25 |
530 |
570 |
240 |
12 |
100 |
170 |
210 |
100 |
170 |
185 |
4-18 |
4-18 |
4-18 |
|
100CYZ-A-65 |
YB200L1-2 |
30 |
780 |
1320 |
1566 |
116 |
230 |
743 |
820 |
重合 |
270 |
3 |
335 |
555 |
785 |
30 |
546 |
596 |
290 |
14 |
100 |
180 |
215 |
100 |
180 |
215 |
8-18 |
8-18 |
4-19 |
|
100CYZ-A-75 |
YB200L1-2 |
30 |
780 |
1320 |
1566 |
116 |
230 |
743 |
820 |
重合 |
270 |
3 |
335 |
555 |
785 |
30 |
546 |
596 |
290 |
14 |
100 |
180 |
215 |
100 |
180 |
215 |
8-18 |
8-18 |
4-19 |
|
150CYZ-A-55 |
YB225M-2 |
45 |
950 |
1450 |
1788 |
30 |
360 |
900 |
885 |
重合 |
250 |
3 |
390 |
760 |
990 |
30 |
560 |
620 |
290 |
重合 |
150 |
240 |
280 |
150 |
240 |
215 |
8-23 |
8-23 |
4-19 |
|
150CYZ-A-65 |
YB250M-2 |
55 |
950 |
1500 |
1853 |
91 |
360 |
900 |
950 |
重合 |
275 |
3 |
390 |
760 |
990 |
30 |
650 |
700 |
290 |
重合 |
150 |
240 |
280 |
150 |
240 |
215 |
8-23 |
8-23 |
4-19 |
|
150CYZ-A-65A |
YB250M-4 |
55 |
1000 |
1860 |
2087 |
165 |
470 |
1150 |
935 |
重合 |
430 |
2 |
500 |
900 |
1220 |
40 |
760 |
840 |
290 |
22 |
150 |
240 |
280 |
150 |
240 |
280 |
8-23 |
8-23 |
4-25 |
|
150CYZ-A-80 |
YB250M-2 |
55 |
950 |
1500 |
1853 |
91 |
362 |
900 |
950 |
重合 |
275 |
3 |
390 |
760 |
990 |
30 |
650 |
700 |
290 |
重合 |
150 |
240 |
280 |
150 |
240 |
215 |
8-23 |
8-23 |
4-19 |
|
200CYZ-A-32 |
YB250M-4 |
55 |
900 |
1620 |
2083 |
165 |
470 |
1127 |
953 |
重合 |
360 |
3 |
440 |
800 |
1170 |
30 |
710 |
770 |
290 |
30 |
200 |
280 |
315 |
200 |
280 |
315 |
8-18 |
8-18 |
4-25 |
|
200CYZ-A-63 |
YB280M-4 |
90 |
1000 |
1860 |
2242 |
210 |
430 |
1180 |
1060 |
重合 |
430 |
2 |
500 |
900 |
1220 |
40 |
760 |
840 |
330 |
22 |
200 |
295 |
335 |
200 |
295 |
280 |
8-23 |
8-23 |
4-25 |
|
200CYZ-A-65 |
YB315S-4 |
110 |
1000 |
1860 |
2452 |
230 |
430 |
1180 |
1270 |
重合 |
430 |
2 |
535 |
935 |
1255 |
40 |
760 |
840 |
330 |
22 |
200 |
295 |
335 |
200 |
295 |
280 |
8-23 |
8-23 |
4-25 |
|
250CYZ-A-32 |
YB280S-4 |
75 |
1000 |
1860 |
2628 |
195 |
875 |
1604 |
1031 |
重合 |
430 |
3 |
470 |
1110 |
1290 |
30 |
760 |
840 |
330 |
35 |
250 |
335 |
370 |
250 |
335 |
370 |
12-18 |
12-18 |
4-25 |
|
250CYZ-A-50 |
YB280M-4 |
90 |
1000 |
1860 |
2604 |
240 |
792 |
1542 |
1060 |
重合 |
430 |
2 |
500 |
1100 |
1300 |
40 |
760 |
840 |
330 |
25 |
250 |
350 |
390 |
250 |
350 |
390 |
12-23 |
12-23 |
4-25 |
|
250CYZ-A-55 |
YB315S-4 |
110 |
1200 |
2000 |
2814 |
210 |
792 |
1542 |
1270 |
重合 |
400 |
2 |
500 |
1100 |
1300 |
40 |
900 |
980 |
400 |
25 |
250 |
350 |
390 |
250 |
350 |
390 |
12-23 |
12-23 |
4-25 |
|
250CYZ-A-75 |
YB315M-4 |
132 |
1200 |
2000 |
3000 |
195 |
800 |
1647 |
1350 |
重合 |
400 |
3 |
550 |
1150 |
1420 |
40 |
900 |
980 |
400 |
24 |
250 |
350 |
390 |
250 |
350 |
390 |
12-23 |
12-23 |
4-25 |
|
300CYZ-A-32 |
YB280M-4 |
90 |
1000 |
1860 |
2808 |
195 |
995 |
1724 |
1081 |
重合 |
430 |
3 |
470 |
1230 |
1330 |
30 |
760 |
840 |
330 |
35 |
300 |
395 |
435 |
300 |
395 |
435 |
12-23 |
12-23 |
4-25 |
|
300CYZ-A-50 |
YB315S-4 |
110 |
1200 |
2000 |
2962 |
170 |
890 |
1690 |
1270 |
重合 |
400 |
2 |
550 |
1210 |
1440 |
40 |
900 |
980 |
400 |
30 |
300 |
400 |
440 |
300 |
400 |
440 |
12-23 |
12-23 |
4-25 |
|
300CYZ-A-55 |
YB315M-4 |
132 |
1200 |
2000 |
3042 |
170 |
890 |
1690 |
1350 |
重合 |
400 |
2 |
550 |
1210 |
1440 |
40 |
900 |
980 |
400 |
30 |
300 |
400 |
400 |
300 |
400 |
440 |
12-23 |
12-23 |
|











